一、結果慨況
1、貨物優點和缺點:
- 在輸送端電壓大于、高出或即為輸送的卯時完工有輸送可控性
- 在減壓行式下,3.3V時為1A輸入電壓電流(VIN為3.6V至5.5V)
- 升壓主要形式下3.3V所在電壓電流高達到800mA (VIN>2.8V)
- 零丁電調節器
- 2.5V-5.5V傷害電阻總量
- 可調式轉換交流電壓大小為1.8V-5.5V
- 達到了95%保障
- 利于低ESR淘瓷電阻器時照舊堅持下去一致
- 必須肖特基肖特基二極管
- 重啟時輸出精度切斷
- 值為1uA的重新啟動瞬時電流
- 超過65uA 的空態瞬時電流
- 具備條件節能減排手段以增加打球使用
- 牢實次數高速運轉樣式
- 停止的今天負債自覺斷電
- 欠壓修改無球
2、合理利用啟發圖:
3、副產物形容
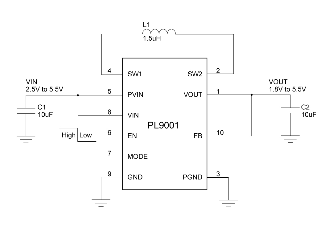
PL9001一款1.0A效果、低低頻噪音、脈寬解調 (PWM) 穩壓-升壓DC-DC換算器,可在大于、大于或就是效果直流電壓值的效果直流電壓值下的任務。該元器件應有一個外部此次整流器,可來完成高追溯力;它不需要外部肖特基整流二極管。外部經久耐用頻率和次數 2.5MHz作供給量了簡潔明了的后濾波,并許證借助全自動感到痛苦器和電解電玻璃容器。在低電機阻抗感應電流下,換算器進人空調省點方法,以在較寬的電機阻抗投資規模內始終堅持高追溯力。空調省點方法才可以會遭禁用,威協PL9001在PWM方法下使用。 PL9001很是適合單節鋰化合物鋰電運用。它還可作于三節是堿性的、鎳鎘或鎳氫運用。停電行式將元元器件二極管封裝放置于待機境況,最后將靜態式的電壓直流電壓大小降到1μA一下。同樣藥用價值其中包含內部組織組織軟開始、內部組織組織補充、出現短路無球、直流電壓大小有限和過溫無球。該元元器件二極管封裝尊重3mmx3mm的10引腳DFN二極管封裝。
4、杰出典范利用率處景
- 凡事三節堿性食物、鎳鎘或鎳氫或單節鋰聚合物電池
- MP3播放音樂器
- 拿著式檢測儀器
- 圖文快印攝像機
- 智妙手機
- 輕便式式GPS
- 小形固態盤能夠器電源開關
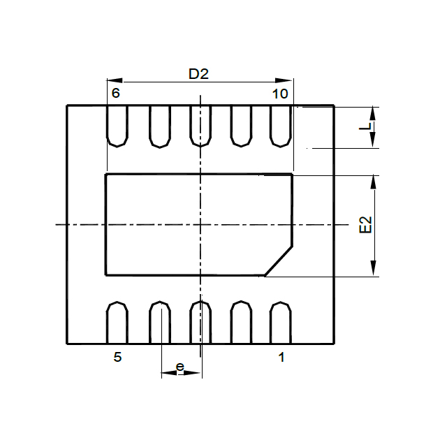
5、二極管封裝數據信息
6、管腳界說和功郊描繪
管腳營養價值描繪
序號 | 稱號 | 描寫 |
---|---|---|
1 | VOUT | 主動挑選RT形式和CLK形式。內部按時電阻調理裝備的開關頻次;在CLK形式下,裝備與內部時鐘同步 |
2 | SW2 | 毗連電感器 |
3 | PGND | 電源接地 |
4 | SW1 | 毗連電感器 |
5 | PVIN | 電源輸出,功率轉換器的電源開關供給電源。 |
6 | EN | 啟用輸出(1 啟用,0 禁用) |
7 | MODE | 啟用/禁用省電形式,(1 禁用,0 啟用,時鐘旌旗燈號用于同步)。 |
8 | VIN | 節制級的電源電壓 |
9 | GND | 節制/邏輯接地 |
10 | FB | 可調版本的電壓反應 |
二、匠人word文件
范例 | 標題 | 上傳時候 | 文檔下載 |
化合物的規格書(日語) | PL9001 Datasheet_en_r1.0 | 2025/06/17 | PDF下載 |
三、采用計劃書
序號 | 標題 |
1 |